

【大河财立方消息】 2026年2月24日,上交所官网显示,盛合晶微半导体有限公司(简称“盛合晶微”)科创板IPO项目获得上市委审议通过。

招股书显示,盛合晶微是全球范围内营收规模较大且增长较快的集成电路先进封测企业。在芯粒多芯片集成封装领域,2024年度,盛合晶微是中国大陆2.5D收入规模排名第一的企业,市场占有率约为85%。全球范围内,只有少数领先企业具备2.5D的量产能力,其中台积电、英特尔、三星电子合计占据 80%以上的市场规模,2024年度,公司2.5D的全球市场占有率约为8%。
根据Gartner统计,2024年度,盛合晶微是全球第十大、境内第四大封测企业,且2022年至2024年营业收入复合增长率达69.77%,在全球前十大企业中位居第一。

财务数据显示,盛合晶微近年来业绩呈现快速增长态势。2022年至2024年,公司营业收入分别为16.33亿元、30.38亿元和47.05亿元;2023年公司成功扭亏为盈,净利润达3413.06万元;2024年盈利水平大幅提升,净利润增至2.14亿元。
招股书披露显示,2024 年,芯粒多芯片集成封装成为公司第一大业务,收入占比达 44.39%,这一比例在2025 年上半年进一步提升至 56.24%。产品结构的持续优化升级,让盛合晶微迎来了业绩与利润的双重爆发式增长。2025年全年,公司实现营业收入65.21亿元,同比增长38.59%;归母净利润9.23亿元,同比增长331.80%;扣非后归母净利润8.59亿元,同比增长358.20%。
此外,盛合晶微预计2026年1~3月实现营业收入16.50亿元~18.00亿元,同比增长9.91%-19.91%;扣非前后归母净利润分别为1.35亿元~1.50亿元,同比分别增长6.93%~18.81%、7.32%~19.24%,经营规模与盈利能力稳步提升。
本次IPO,盛合晶微拟募集48亿元投资“三维多芯片集成封装项目”和“超高密度互联三维多芯片集成封装项目”,用于形成多个芯粒多芯片集成封装技术平台的规模产能,并补充配套的凸块制造产能。盛合晶微表示,上述项目实施后,将为我国发展数字经济和人工智能提供必要的基础性保障,同时有利于公司提升科技创新能力,实现核心技术的产业化,充分把握芯粒多芯片集成封装市场高速成长的机遇,进一步拓展人工智能、数据中心、云计算、自动驾驶等高性能运算领域的新客户。

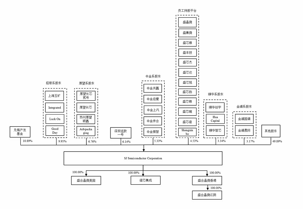
从股权架构来看,最近两年内,盛合晶微无控股股东且无实际控制人。截至招股书签署日,盛合晶微第一大股东无锡产发基金持股比例为10.89%,第二大股东招银系股东合计控制股权比例为9.95%,第三大股东厚望系股东合计持股比例为6.76%,第四大股东深圳远致一号持股比例为6.14%,第五大股东中金系股东合计持股比例为5.33%。公司任何单一股东均无法控制股东会且不足以对股东会决议产生决定性影响。
